AirTAC - แมคคานิควาล์ว Mechanical Valve แบบวาล์วมือกด 3L Series
AirTAC - แมคคานิควาล์ว Mechanical Valve แบบวาล์วมือกด 3L Series

วาล์วเท้าเหยียบ ชนิด 3/2 ทาง Foot Valve (3/2 Way) อุปกรณ์นิวเมติกส์ Pneumatics สินค้าแบรน AirTAC ของแท้จากประเทศไต้หวัน
-
Specifications | AirTAC - แมคคานิควาล์ว Mechanical Valve แบบวาล์วมือกด 3L Series
รุ่นสินค้า ขนาดเกลียว Orifice mm2 (CV) ชนิดเกลียว อุณหภูมิ ชนิด ลักษณะ การทำงาน แรงดันที่ใช้ (Mpa) 3L110-06 1/8" 12 (0.67) - PT
- NPT
- BSPP5~60 °c 3/2 2 ตำแหน่ง ดึงขึ้น - กดลง 0~0.8 3L210-06 1/8" 14 (0.78) 5~60 °C 3/2 2 ตำแหน่ง ดึงขึ้น-กดลง 0~0.8 3L210-08 1/4" 16 (0.89) 5~60 °C 3/2 2 ตำแหน่ง ดึงขึ้น - กดลง 0~0.8 3L310-08 1/4" 25 (1.39) 5~60 °c 3/2 2 ตำแหน่ง ดึงขึ้น - กดลง 0 ~ 0.8 3L310-10 3/8" 30 (1.67) 5~60 °c 3/2 2 ตำแหน่ง ดึงขึ้น - กดลง 0~0.8 -
Ordering code | AirTAC - แมคคานิควาล์ว Mechanical Valve แบบวาล์วมือกด 3L Series
Example: 3L110-06 / 3L210-06 / 3L210-08C
How to select: 3L(1) 2(2) 10(3) 08(4) P(5)
(1) Model (2) Code (3)Valve type (4) Port size (5) Thread type 3L: 3 port 2 position push-pull valve 1: 100 series
2: 200 series
3: 300 series10: 2 position 06: 1/8"
08: 1/4"
10: 3/8"P: PT
T: NPT
G: G -
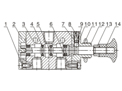
Inner structure | AirTAC - แมคคานิควาล์ว Mechanical Valve แบบวาล์วมือกด 3L Series

NO Item NO Item 1 Round head screw 8 Stop screw 2 Bottom cover 9 Spring base 3 Body 10 Steel ball 4 O-ring 11 Hexagon nut 5 Spool 12 Top cover 6 Round head screw 13 Safety nut 7 Spring 14 Hand grip -
Flow chart | AirTAC - แมคคานิควาล์ว Mechanical Valve แบบวาล์วมือกด 3L Series

-
Dimensions | AirTAC - แมคคานิควาล์ว Mechanical Valve แบบวาล์วมือกด 3L Series

Item\Type 3L110 3l210 3L210 Item\type 3L110 3L210 3L310 06 06 08 08 10 06 06 08 08 10 A 3.3 3.3 3.3 4.3 4.3 L 21 25 25 30 30 B 19 30 30 35 35 M 12.2 15.2 15.2 17.5 17.5 C 13.2 12.7 12.7 15 15 N 3.3 4.3 4.3 4.3 4.3 D 23.7 27.7 27.7 32.5 32.5 P 7.5 8 8 10 10 E 1 0 1.5 0 2 Q 27 35 35 40 40 F 13 17 17 20 20 R 47 57 57 65.8 65.8 G 18 22 22 27 27 S 10 10 10 10 10 H 22 22 22 25 25 T 1/8" 1/8" 1/4" 1/4" 3/8" I 12 14 14 16 16 U 16 22.5 22.5 24 24 J 1.0 0.75 1.0 1.0 1.0 V 14.7 16.5 16.5 20.5 20.5 K 79 90 90 100 100 W 2 0 0 0 0
